Home
Leistungen
Sanitär
Heizung
Tankanlagen
Bauklempnerei
Gutachten
EnEV 2014 / ErP
Zu Vermieten!
Galerie
Kontakt
Anfahrt
Impressum
Datenschutz


Einer der wesentlichen Vorteile für den Betreiber einer Ölfeuerungsanlage ist die Unabhängigkeit gegenüber anderen leitungsgebundenen Energien. Mit der Größe des Lagertanks wächst sogar dieser Vorteil beträchtlich. Der Betreiber bestimmt selbst in Abhängigkeit der Jahreszeit und des Tagespreises, wann er seinen Ölvorrat ergänzen will.



Risiko vermeiden
Bei der Ölfeuerung muss die Heizöllagerung so sicher sein, dass keine Tankleckage oder TanküberfüIIung aufgrund technischer Mängel an der Anlage eintreten kann. Die Gefahr einer Verunreinigung von Gewässer und Boden darf nicht unterschätzt werden. Diese Sicherheit kann nur erreicht werden, wenn der Einbau oder die Aufstellung der Öltanks sowie die Durchführung der erforderlichen Installationen einschließlich Leckanzeige- und Sicherheitseinrichtungen fach- und sachgerecht durch den Fachmann erfolgen. Deshalb hat der Gesetzgeber die Fachbetriebsqualifikation im § 19 I des Wasserhaushaltsgesetzes vorgeschrieben und den Betreiber verpflichtet nur Fachbetriebe zu beauftragen. Eine wesentliche Voraussetzung für die Sicherheit ist die regelmäßige Überwachung der Tankanlage einschließlich der Funktionskontrolle der Leckanzeigegeräte und Sicherheitseinrichtungen (§ 19 i des Wasserhaushaltsgesetzes).    

Keine Tankdiagnose ohne Tankreinigung
Um den Korrosionszustand der Innenwände von Heizöltanks festzustellen, ist immer eine Tankreinigung und innere Untersuchung der Tankwände erforderlich. Hierbei wird die Sumpfphase am Tankboden entfernt und sämtliche Ablagerungen auf den Tankwänden werden beseitigt. Die Inspektion der Tankwände nach der Reinigung gibt Aufschluss über mögliche Korrosionsschaden in Stahltanks, Fehlstellen in beschichteten Tanks sowie Risse und Verformungen in Kunststofftanks. Über die richtige Sanierungsmaßnahme wird der Anlagenbetreiber vom gütezeichenführenden Fachbetrieb beraten. Bei festgestellten Korrosionstiefen von über 50% der Nennwanddicke ist je nach Tankgröße ein zugelassener Sachverständiger hinzuzuziehen. Mit zunehmender Alterung der Heizöltanks gewinnt die Frage der Sicherheit an Bedeutung. Wer im Turnus von 5 Jahren seinen Heizöltank reinigen und einer Tankinspektion unterziehen lässt, braucht sich um den Werterhalt, die Betriebssicherheit und den bedeutsamen Gewässerschutz in aller Regel keine Sorgen zu machen. Mängel an der Anlage können hierbei beseitigt und fortschreitende Korrosion rechtzeitig durch eine zweckmäßige Tankschutzmaßnahme aufgehalten werden.  

Der große Bluff: Sumpfphasendiagnose

So wenig wie man aus dem Kaffeesatz den Gesundheitszustand des Kaffeetrinkers herauszulesen vermag, so wenig ist es möglich, durch Inaugenscheinnahme einer Probe vom Tankboden den Tankzustand zu diagnostizieren. Eine eingetrübte Heizölprobe kann - muß aber nicht - aggressiv sein, während andererseits hydrolysierbare Bestandteile, z.B. Säureanhydride (SO2) zu Metallauflösungen führen, ohne dass eine Eintrübung erfolgt. Heizölproben sind ohne chemische Analyse im Labor wertlos. Bei der Probenahme wird oft bewusst durch das Öffnen des Probezylinders am Tankboden die wässrige Sumpfphase um ein Vielfaches hochgehebert, so dass in diesem Bereich des Sumpfes der Eindruck entsteht, dass der hohe Kondenswasserstand im Tank die Betriebssicherheit der Ölfeuerung in kurzer Zeit beeinträchtigen kann. Der nichtsachkundige Heizölverbraucher weiß dies alles nicht. Darauf beruht das Angebot für eine kostenlose Sumpfphasendiagnose zur Feststellung des Tankzustandes. "ÜbIe Tricks" sagt die Arbeitsgemeinschaff der Verbraucher in Bonn und spricht von Betrug.  

Tankschutz ist Vertrauenssache
Die Binsenweisheit ,,Vertrauen ist gut, Kontrolle ist besser" hat sich die Gütegemeinschaff Tankschutz e.V. schon 1966 zu eigen gemacht. An Fachbetriebe nach § 19 I WHG, die personell und materiell den Anforderungen der Gütesicherung Tankschutz RAL-RG 977 entsprechen und sich regelmäßig Überwachungsprüfungen durch zugelassene Sachverständige unterziehen, werden Gütezeichen nach Tätigkeiten und Anlagenarten verliehen. Diese Eigeninitiative der Wirtschaff wurde auch von dem Bundesminister für Umwelt, Naturschutz und Reaktorsicherheit, dem Umweltbundesamt und den für Wasserwirtschaft und Wasserrecht zuständigen obersten Landesbehörden als effiziente Gewässerschutzmaßnahme anerkannt. Auch die Verbraucherzentralen empfehlen, bei Auftragsvergabe auf die Berechtigung des Fachbetriebes zur Führung von Gütezeichen Tankschutz RAL-RG 977 für die auszuführenden Arbeiten zu achten   Auf den nächsten Seiten dieses Verzeichnisses finden Sie entsprechend der Lager und der Tankbauart zusammengefasst die vorgeschriebenen Schutzvorkehrungen nach dem geltenden Wasserrecht (WHG und VAwS) und die von der Gütegemeinschaff Tankschutz e.V. empfohlenen Tankschutzmaßnahmen zum Sachwerterhalt Ihres Tanks.




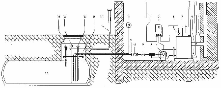
Einbau des Lagerbehälters nach den geltenden wasser- und anlagenrechtlichen Bestimmungen. Notschalter außerhalb des Heizraumes installieren. Prinzip: Einstrangsystem


Zur Bildvergrößerung bitte hier klicken!

1-Brenner 2-Kessel 3-Schaltschrank 4-Sicherheits- und Regulierungsthermostat
5-Anschluss Raumtemperaturregler 6-Drosselklappe 7-Zugregler 8-Filter, Entlüfter*
9-Schnellschlussventil im Domschacht* 10-Ölstandsanzeiger 11-Öl-Vorlaufleitung, selbstsichernd
12-Rückschlagventil* 13-Doppelwandiger Heizöllagerbehälter DIN6608/2 (ohne Leckanzeige dargestellt) 14-Grenzwertgeber 15-Peilrohr 16-Füllleitung 17-Be- und Entlüftung

* in der Regel eine Baueinheit


Zur Bildvergrößerung bitte hier klicken!

Lagerung in Stahltanks
Die klassische Lagerung von Heizöl EL (brennbare Flüssigkeiten der Gefahrklasse A III) in unterirdischen Stahltanks nach DIN 6608 hat sich hervorragend bewährt. Durch die geforderte Doppelwandigkeit werden die geltenden wasserrechtlichen Vorschriften der VAwS erfüllt, die Lagersicherheit ist optimiert. Der sachgemäße Einbau der Behältertanks) ist für die Lebensdauer und Betriebssicherheit von großer Bedeutung. Er hat von einem Fachbetrieb nach § 19 I WHO zu erfolgen.  

Kontrolle:
für Behälter keine; ansonsten Funktionskontrolle der Leckanzeigegeräte einschließlich der Installation und der Rohrleitungen nach Maßgabe der Verordnungen der Länder jährlich durch Fachbetriebe nach § 19 I WHG  

Tankreinigung:
Es wird empfohlen, zur Sachwerterhaltung und für die Betriebssicherheit eine Tankreinigung im Turnus von 5 Jahren durch Fachbetriebe nach § 19 I WHO mit Gütezeichen Tankschutz RAL-RG 977 durchführen zu lassen.  

Gesetzlich vorgeschriebene Prüfungen:
vor Inbetriebnahme und danach alle 5 Jahre, in Wasserschutzgebieten alle 2 1/2 Jahre durch zugelassene Sachverständige nach Maßgabe des Landesrechts; außerdem bei wesentlichen Änderungen, nach Wiederinbetriebnahme, bei vorübergehenden Stillegungen und bei Außerbetriebnahme. Der Anlagenbetreiber muss die Prüffristen ohne besondere Aufforderung einhalten. Im Rahmen von Wartungsverträgen übernimmt diese Terminüberwachung der Fachbetrieb.

Korrosionsschutz durch Tankinnenbeschichtung
Heizöltanks aus Stahl korrodieren. Das korrosionsanregende Medium ist nicht das HeizöI, sondern das im Tank durch Witterungseinflüsse entstehende Kondenswasser. Es ist schwerer als Heizöl und sammelt sich daher auf dem Tankboden an. Um einer Innenkorrosion vorzubeugen und die Gebrauchsdauer der Tanks zu verlängern, können Maßnahmen zum Sachwerterhalt durch Ganz- oder Teilbeschichtungen der Tanks getroffen werden. Innenbeschichtungen entsprechen dem Stand der Technik (noch TRbF 402), wenn sie gem. den Bau- und Prüfgrundsätzen des Deutschen Instituts für Bautechnik (DIBt) ausgeführt werden. Die zu beschichtenden Flächen müssen mit nichtsilikogenen Strahlmitteln bis zum Reinheitsgrad Sa 3 metallisch blank gestrahlt und abgesaugt werden, bevor ein zugelassener Beschichtungsstoff aufgetragen wird. Lässt die Verarbeitungsrichtlinie des Herstellers, die Bestandteil des Prüfbescheids der Zulassungsbehörde des Beschichtungsstoffes ist, eine chemische und mechanische Reinigung und Oberflächenvorbehandlung zu, dann kann entsprechend verfahren werden. Die Beschichtungsfirma sollte das Gütezeichen Tankschutz RAL-RG 977 führen.




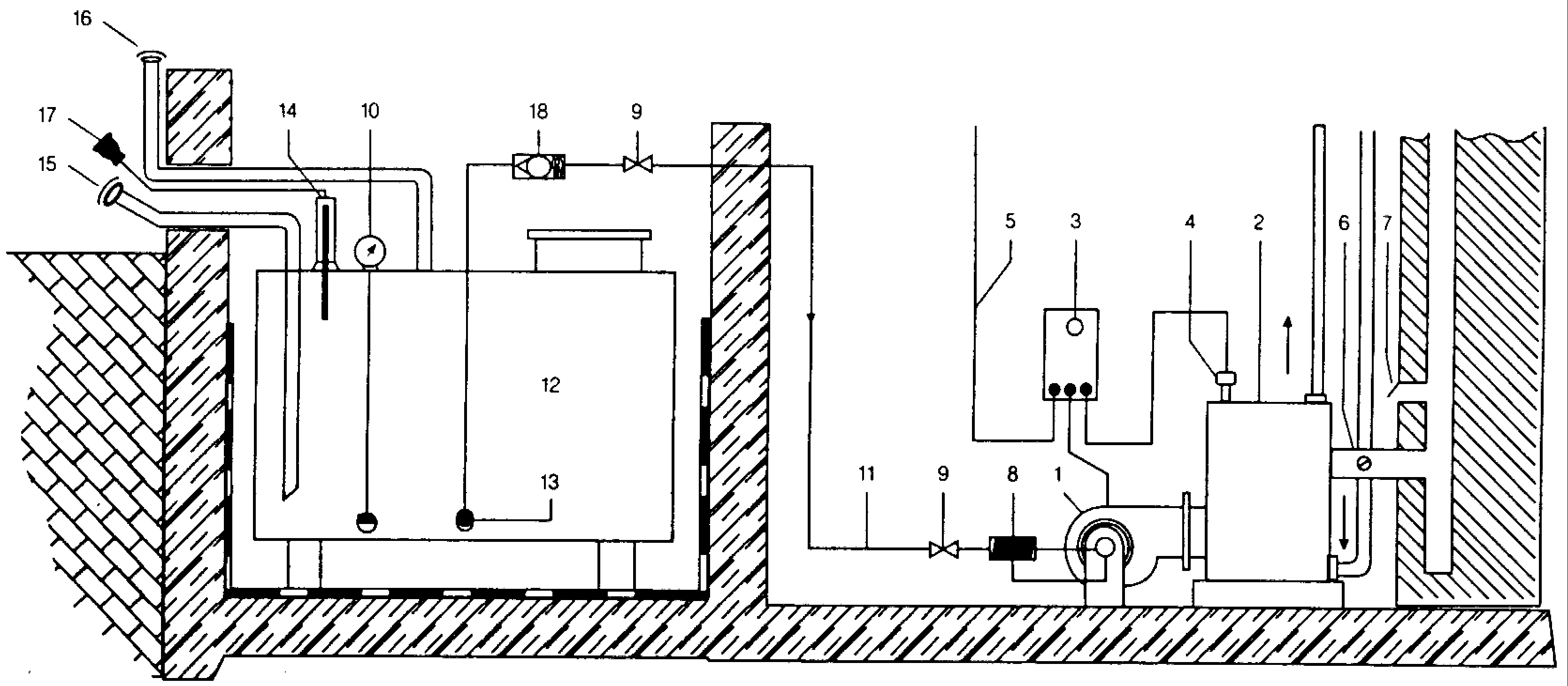
Aufstellen des Lagerbehälters nach den geltenden wasser- und anlagenrechtlichen Bestimmungen. Notschalter außerhalb des Heizraumes installieren. Prinzip: Einstrangsystem


Zur Bildvergrößerung bitte hier klicken!

1-Brenner 2-Kessel 3-Schaltschrank 4-Sicherheits- und Regulierungsthermostat 5-Anschluss Raumtemperaturregler 6-Drosselklappe 7-Zugregler 8-Filter* 9-Schnellschlussventil* 10-Ölstandsanzeiger 11-Öl-Vorlaufleitung 12-Heizöllagerbehälter DIN 6625 im öldichten Auffangraum 13-Saugventil oder Saugsieb (ca. 100 mm Abstand vom Behälterboden) 14-Grenzwertgeber 15-Füllleitung 16-Entlüftung 17-Grenzwertgeber-Anschluss 18-Heberschutz

* in der Regel eine Baueinheit

Standortgefertigte Behälter
Standortgefertigte Behälter nach DIN 6625 sind einwandige Stahltanks und werden auch als Rechtecktanks oder Kellertanks bezeichnet. Sie haben den Vorteil, nachträglich unter optimaler Raumnutzung in vorhandene Lagerräume eingebaut werden zu können. Die Aufstellung erfolgt grundsätzlich in Auffangräumen aus Stahlbeton oder aus Mauerwerk mit Zementputz auf einem Boden aus Zementestrich. Diese sind mit einem Beschichtungsstoff mit Verwendungsnachweis (Zulassung) vor der Aufstellung des Tanks mehrfach anzustreichen oder der Auffangraum mittels vor Ort verschweißter Kunststoffbahnen abzudichten (siehe auch Ziff. 2.4). Zu beachten sind die Mindestabstände zu der Decke, zu den Wänden und zum Boden, die sich nach den Landesbauordnungen, den Technischen Regeln für brennbare Flüssigkeiten (TRbF 210), der DIN 6625 und der DIN 4755 richten.  

Kontrolle:
für Behälter keine; ansonsten Funktionskontrolle der Leckanzeigegeräte einschließlich der Installation und der Rohrleitungen nach Maßgabe der Verordnungen der Länder jährlich durch Fachbetriebe nach § 19 I WHG;  zusätzlich visuelle Prüfung der Abdichtung des Auffangraumes   Tankreinigung: Es wird empfohlen, zur Sachwerterhaltung und für die Betriebssicherheit eine Tankreinigung im Turnus von 5 Jahren durch Fachbetriebe nach § 19 I WHO mit Gütezeichen Tankschutz RAL-RG 977 durchführen zu lassen.  

Gesetzlich vorgeschriebene Prüfungen: bauaufsichtlichte Prüfung nach dem Einbau, erstmalige Prüfung vor Inbetriebnahme, wiederkehrend nach Maßgabe des Landesrechtes (VAwS) durch zugelassene Sachverständige. Fragen Sie Ihren Fachbetrieb!